Electro-Tyfon MTX 150/130 is an electrically driven piston ship’s whistle. It is built up of comparatively few moving parts as the “swinging piston”, no lubricated cylinder and an oil free gearbox. The horn with its unique vertically extended front, and a specially created sound spectrum will reduce the noise on deck with 6–8 dB compared to a conventional whistle with circular outlet.
The Electrically Driven Piston Ship Whistle is designed as a reliable marine whistle and vessel whistle for sound signaling on commercial ships. This ship whistle uses an electric motor to drive a piston system, producing powerful low-frequency sound that meets international maritime signaling requirements.
As a professional ship whistle and fog horn, it is widely applied on vessels where stable acoustic performance and regulatory compliance are essential for navigation safety.

General Information
Electro–Tyfon MTX 150/130 applicable to vessels of 200 m or more in length.
Electro–Tyfon MT 150/130 applicable to vessels of 75 m to 200 m in length.
Important Features:
Technical Data
| Type | Power Supply | Ref No |
| MTX 150/130 | 3 ph 380-440V 60Hz | 24800287 |
| MTX 150/130 | 3 ph 380-440V 50Hz | 24800534 |
| MTX 150/130 | 3 ph 660-690V 60Hz | 24800535 |
| MTX 150/130 | 3 ph 660-690V 50Hz | 24800536 |
Sound frequency (basic): 130 Hz
Sound Pressure Level
acc to IMO (1/3 oct band): >143 dB/1m
Sound Level A-weighted: 146 dBA/1m
Rated current: 12.5A /440V at 20℃
8A / 690V at 20℃
Electrical protection class: IP 56
Body: Galvanized nat.
Horn: White RAL 9003
Weight (approx.): 70 kg
Motor Control
Kockum Sonic’s Contactor Unit TK 80 is especially developed to control the Electro–Tyfon MTX 150/130
Functions:
Dimensions, Installation and Maintenance

Installation
Electro–Tyfon MTX 150/130 shall be fixed with four M12 screws that must be firmly tightened and locked.
Mount the whistle on a platform supplied with a safety rail. As the whistle is subject to vibration on starting and stopping,
flexible electric cables should be used nearest the motor. The gland on the electric Motor Terminal Box is M 32 for
cable Ø 17 - 28 mm.
Optional: M 25 for cable Ø 9-20 mm.
Recommended power cable section:
For cable length up to 100 m Ø 4 ㎜²
For cable length over 100 m Ø 6 ㎜²
Recommended fuses slow 20A
Maintenance
All components are chosen to withstand corrosion and to give a minimum of maintenance.
The crankcase and foundation is hot galvanized. The motor is marine coated - Marine C4 class.
The horn is made of glass fiber armed polyester (white).
The cylinder is non lubricated and the gearbox is entirely oil free.
Electro–Tyfon MTX 150/130 is designed to give long reliable service without routine maintenance,
but a periodic inspection always gives early warning of any faults that may develop
Trouble shooting and refurbishing
Prior to any work on the unit disconnect power.
Eliminate possible power failure; check the voltage of every phase on motor wire terminals.
| Motor is not running | Check the wirings for possible shortcut or insulation error. |
Change the motor together with the motor gearwheel. |
| Motor is running slow, Weak sound |
Check the wiings for possible shortcut or insulation error. |
If motor OK check and change,if required,the shaft with bearings. |
| bearings.Motor is running,only mechanical noise |
Check the piston,piston rings and piston rod. | Change damaged components.It is not necessary to disassembly the motor. |
| Powerful vibration, entire unit |
Check the vibration dampers. | Change if damaged |
The motor(driver)is always delivered with the driving gear wheel mounted on the shaft.
Do not reuse the old gear wheel,it is made of bakelite and pressed with tight fit and may be damaged when remo-
ved/remounted.
Lubricate the teeth ofthe gearwheels with the grease enclosed in the set.
Change always piston and piston rod together.When loosening and retightening the piston screw counter hold with a
spanner on the flat surfaces of the piston rod just above the piston to avoid twisting the rod.
Lubricate the piston rod bearing and fil half of the volume inside the bearing cover with high-speed roller bearing
grease enclosed in the set.
The gear shaft as spare part is delivered complete with front bearing and gear wheel. Do not remove rear bearing if not necessary,it is fixed in the crank case.
Do not reuse the steel gear wheel,it is warm pressed with very tight fit and may be damaged when removed/remoun-ted.
On inspecton or change of parts,always replace O-rings,circips,the piston rod sealing ring with new ones.
Lock all screws with Loctite 242or similar locking liquid.

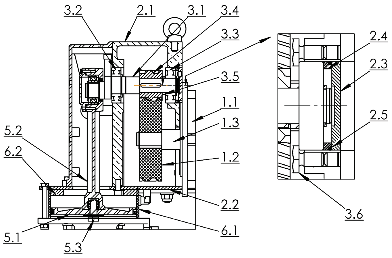
MTX 150/130 - Parts list

| Item | Description | Data/remarks |
| 1 | Driver | |
| 1.1 |
Motor | 380-440V/50-60Hz |
| 660-690V/50-60Hz | ||
| 1.2 |
Motor gear wheel | 60Hz |
| 50Hz | ||
| 1.3 | Spacer | |
| 1.4 | Circlip | SMS 1581 |
| 1.5 | Connection box | Incl. terminals |
| 2 | Crank case | |
| 2.1 | Housing | |
| 2.2 | Base plate | |
| 2.3 | Cap | |
| 2.4 | Spacer | |
| 2.5 | O-ring | 57,6 x 2,4 |
| 3 | Crank shaft | |
| 3.1 | Crank shaft set | Incl. Crankshaft flat key screws and circlips |
| 3.2 | Bearing front | |
| 3.3 | Bearing rear | |
| 3.4 | Gear wheel | 60 Hz |
| 50 Hz | ||
| 3.5 | Spacer | |
| 3.6 | Fixing screw | 2 pcs |
| 4 | Cover | |
| 5 | Piston | |
| 5.1 | Piston set | Incl piston, rings (x2) , pin |
| 5.2 | Piston rod set | Incl rod, cap, nut, bearing, radial seal, O-ring, screws, wash-ers, circlip |
| 5.3 | Piston mounting set | Washer, screw |
| 6 | Cylinder | |
| 6.1 | Cylinder | |
| 6.2 | Flange | |
| 7 | Outlet | |
| 8 | Clamp set | Incl clamp, slang, support, spacer, rubberpacking |
| 9 | Vibration damper set | Incl dampers, bushings washers and nuts |
| 10 | Horn | |
| 10.1 | Horn | |
| 10.2 | Packing |
Sound Performance
This electrically driven piston ship whistle provides strong sound pressure within the frequency range specified for marine sound signaling. The sound output is suitable for use as a primary marine whistle and fog horn, ensuring clear external warning signals even in fog, rain, or high background noise conditions.
The acoustic design allows the vessel whistle to maintain effective signal transmission over long distances while keeping deck noise at a controlled level, supporting safe and practical onboard operation.
Technical Design
The ship whistle adopts an electrically driven piston mechanism instead of a traditional compressed-air system. This structure simplifies the overall system design and removes the need for air compressors, pipelines, and air tanks.
As an electrically driven piston ship whistle, it contains fewer mechanical components, which improves operational stability and reduces mechanical wear during long-term marine service.
Compliance and Standards
This marine whistle is manufactured in accordance with the International Regulations for Preventing Collisions at Sea (COLREG 1972) and IMO sound signal requirements.
It is suitable for installation as an approved ship whistle, vessel whistle, and fog horn on commercial vessels where compliance with international maritime regulations is mandatory.
Installation
The ship whistle is designed for straightforward installation on vessel decks or superstructures. Its electrical operation allows easy integration with standard onboard power systems.
This marine whistle can be used for both new ship construction and retrofit projects where an existing fog horn or vessel whistle needs to be replaced with an electrically driven system.
Reliability and Maintenance
The electrically driven design eliminates the complexity of pneumatic systems and reduces routine inspection work. There is no requirement for air supply equipment, lubrication systems, or pressure control devices.
This makes the electrically driven piston ship whistle a low-maintenance solution with high long-term reliability, particularly suitable for vessels operating continuously under demanding marine environments.
FAQ
An Electrically Driven Piston Ship Whistle is a type of ship whistle that uses an electric motor to drive a piston mechanism to generate sound signals. It works as a marine whistle and fog horn without using compressed air systems.
It can be used as all of them. Ship Whistle, Marine Whistle, Vessel Whistle, and Fog Horn describe the same core function: producing regulated sound signals for vessel navigation and safety compliance.
An electrically driven piston ship whistle does not require air compressors, air tanks, or pipelines. This simplifies installation, reduces maintenance workload, and improves long-term operational reliability.
Yes. This marine whistle is designed in accordance with IMO sound signal requirements and COLREG 1972 regulations, making it suitable for use as a compliant vessel whistle and fog horn on commercial ships.
This vessel whistle is commonly installed on cargo ships, container vessels, tankers, offshore vessels, and passenger ships where a reliable ship whistle and fog horn system is required for navigation safety.